iRF_LOOPy
High-performance Python package for inferring Gene Regulatory Networks (GRNs) using Iterative Random Forest (iRF).
High-performance Python package for inferring Gene Regulatory Networks (GRNs) using Iterative Random Forest (iRF).
Codebase for analyzing the link between fungal metabolomic outputs and exogenous treatment triggers.
Command-line and R toolkit for performing Random Walk with Restart (RWR) analyses on multiplex biological networks.
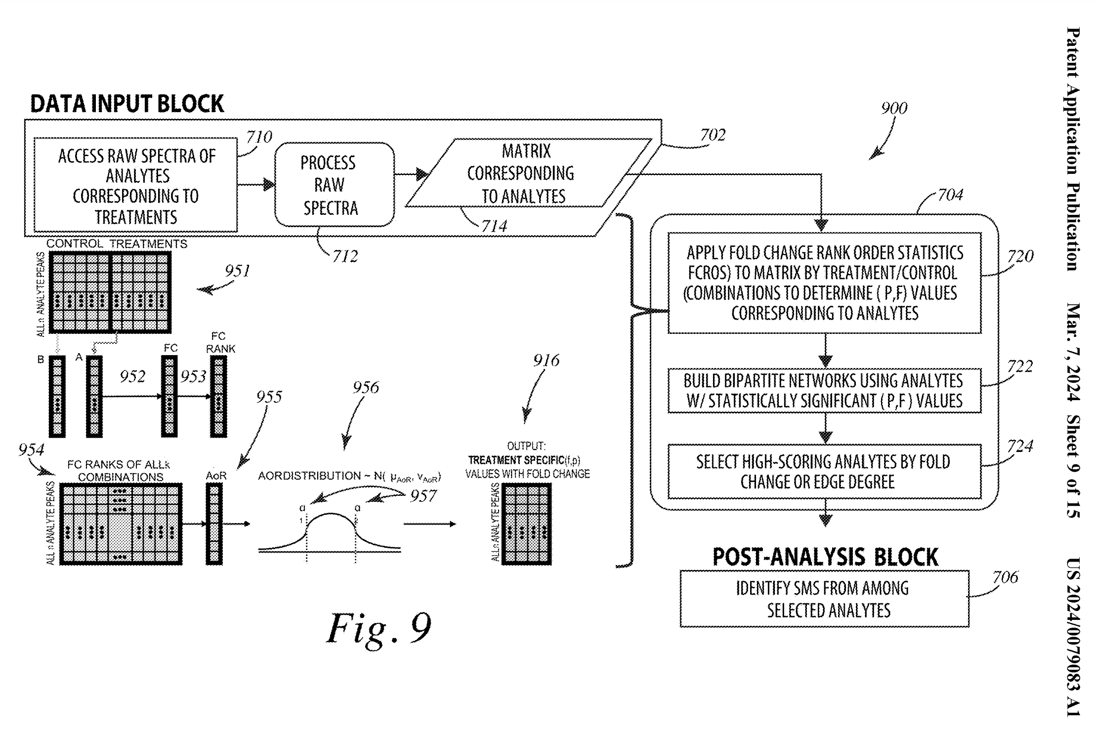
Patent on a bipartite network-based system for ranking metabolite–treatment relationships from LC/MS data using network centrality.